Основные технические характеристики
|
№ п/п |
Наименование параметра |
Значение |
|
1. |
Разрушающая нагрузка, кН |
710 |
|
2. |
Разрушающая нагрузка, кгс |
72300 |
|
3. |
Шаг цепи, мм |
80 |
|
4. |
Длина цепи по соединительным осям, мм |
4000 |
|
5. |
Тип цепи |
Тяговая пластинчатая роликовая двухрядная |
|
6. |
Расстояние между внутренними пластинами, мм |
37 |
|
7. |
Количество осей, шт |
50 |
|
8. |
Количество роликов, шт |
100 |
|
9. |
Количество пластин соединительных, шт |
100 |
|
10. |
Количество колодок, шт |
50 |
|
11. |
Типоразмеры захватываемых диаметров D, дюйм(мм) |
1,5, 1,75, 2,0, 2,375 (38,1, 44,45, 50,8, 60,3) |
|
12. |
Габаритные размеры ДхШхВ, мм |
4055х252х72 |
|
13. |
Масса цепи с типоразмером D=1,5″ (38,1 мм), кг, не более |
290 |
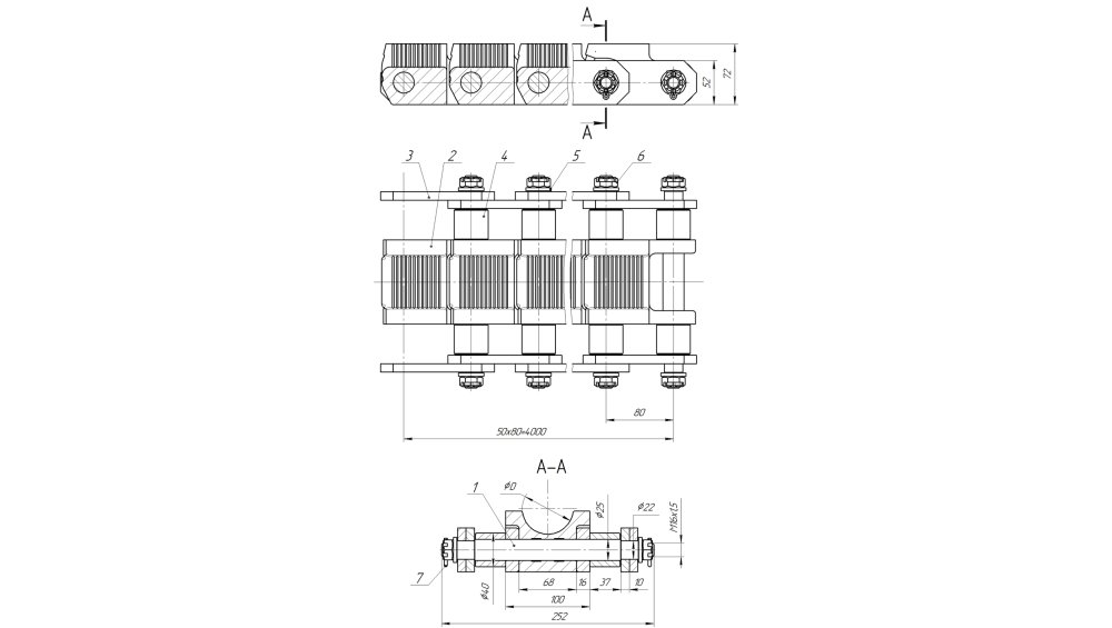
Комплектность
|
№ поз. |
Обозначение |
Наименование |
Кол. |
Примечание |
|
1 |
УКРС30.47.01.01.05.01 |
Ось |
50 |
|
|
2 |
УКРС30.47.01.01.05.02 |
Колодка |
50 |
Для БДТ Ø50,8 мм |
|
УКРС30.47.01.01.05.02-01 |
Колодка |
50 |
Для БДТ Ø44,45 мм |
|
|
УКРС30.47.01.01.05.02-02 |
Колодка |
50 |
Для БДТ Ø38,1 мм |
|
|
УКРС30.47.01.01.05.02-03 |
Колодка |
50 |
Для БДТ Ø60,3 мм |
|
|
3 |
УКРС30.47.01.01.05.03 |
Пластина |
100 |
|
|
4 |
УКРС30.47.01.01.05.04 |
Втулка |
100 |
|
|
5 |
УКРС30.77.01.01.05.05 |
Шайба |
100 |
|
|
6 |
|
Гайка М16x1,5-6H.6.019 ГОСТ 5919-73 |
100 |
|
|
7 |
|
Шплинт 4x32.019 ГОСТ 397-79 |
100 |
|
