Основные технические характеристики
|
№ п/п |
Наименование параметра |
Значение |
|
1. |
Разрушающая нагрузка, кН |
710 |
|
2. |
Разрушающая нагрузка, кгс |
72300 |
|
3. |
Шаг цепи t, мм |
100 |
|
4. |
Длина цепи по соединительным осям, мм |
3200 |
|
5. |
Тип цепи |
Тяговая пластинчатая роликовая двухрядная |
|
6. |
Расстояние между внутренними пластинами, мм |
33 |
|
7. |
Количество осей, шт |
32 |
|
8. |
Количество роликов, шт |
64 |
|
9. |
Количество пластин соединительных, шт |
64 |
|
10. |
Количество колодок, шт |
32 |
|
11. |
Типоразмеры захватываемых диаметров D, дюйм(мм) |
1,5, 1,75, 2,0 (38,1, 44,45, 50,8) |
|
12. |
Габаритные размеры ДхШхВ, мм |
3255х252х66 |
|
13. |
Масса цепи с типоразмером D=1,5″ (38,1 мм) , кг, не более |
182 |
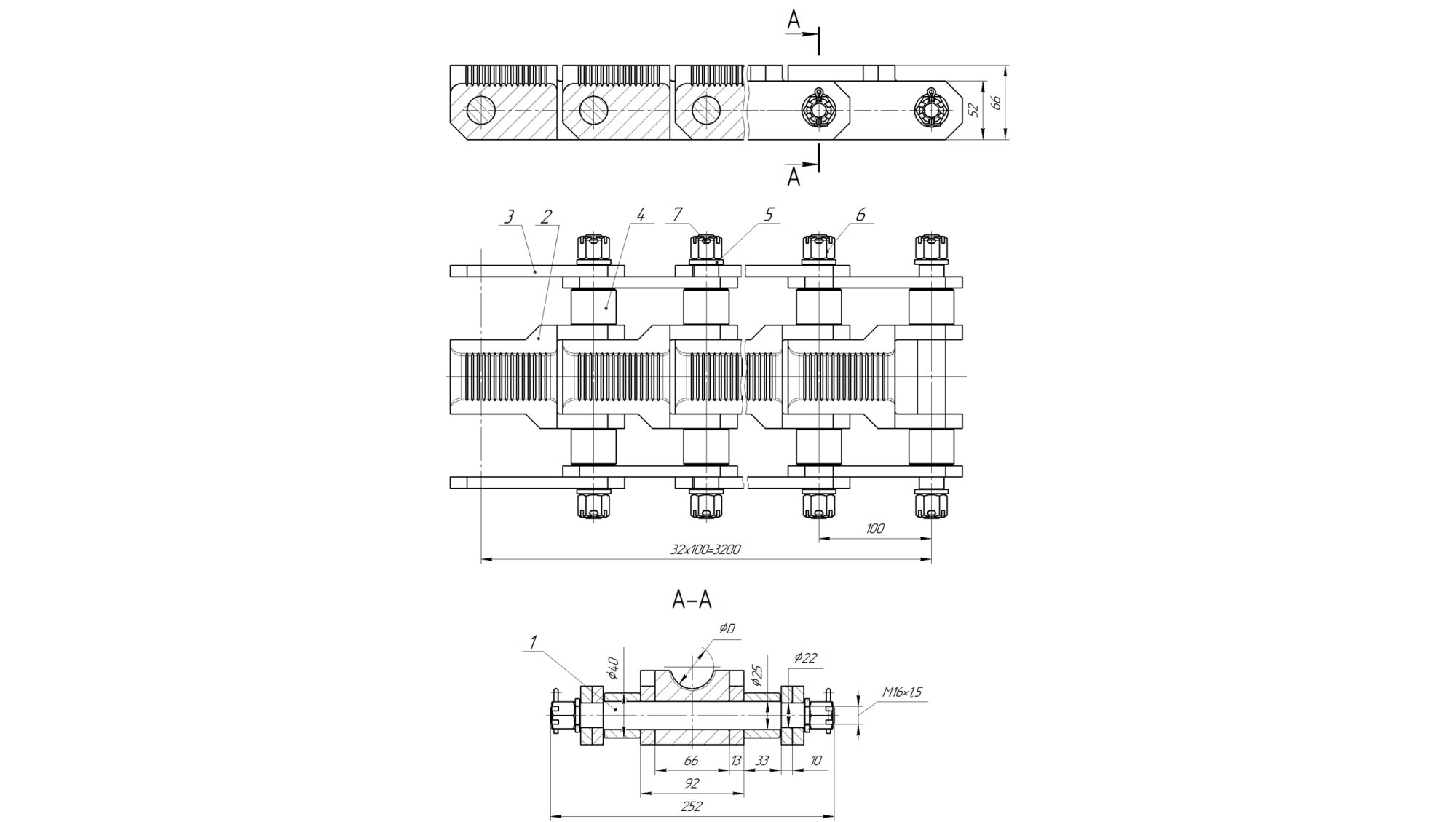
Комплектность
|
№ поз. |
Обозначение |
Наименование |
Кол. |
Примечание |
|
1 |
УКРС30.77.01.01.05.01 |
Ось |
32 |
|
|
2 |
УКРС30.77.01.01.05.02 |
Колодка |
32 |
Для БДТ Ø38,1 мм |
|
УКРС30.77.01.01.05.02-01 |
Колодка |
32 |
Для БДТ Ø44,45 мм |
|
|
УКРС30.77.01.01.05.02-02 |
Колодка |
32 |
Для БДТ Ø50,8 мм |
|
|
3 |
УКРС30.77.01.01.05.03 |
Пластина |
64 |
|
|
4 |
УКРС30.77.01.01.05.04 |
Втулка |
64 |
|
|
5 |
УКРС30.77.01.01.05.05 |
Шайба |
64 |
|
|
6 |
|
Гайка М16x1,5-6H.6.019 ГОСТ 5918-73 |
64 |
|
|
7 |
|
Шплинт 4x28.019 ГОСТ 397-79 |
64 |
|
